Service manuals, schematics, eproms for electrical technicians

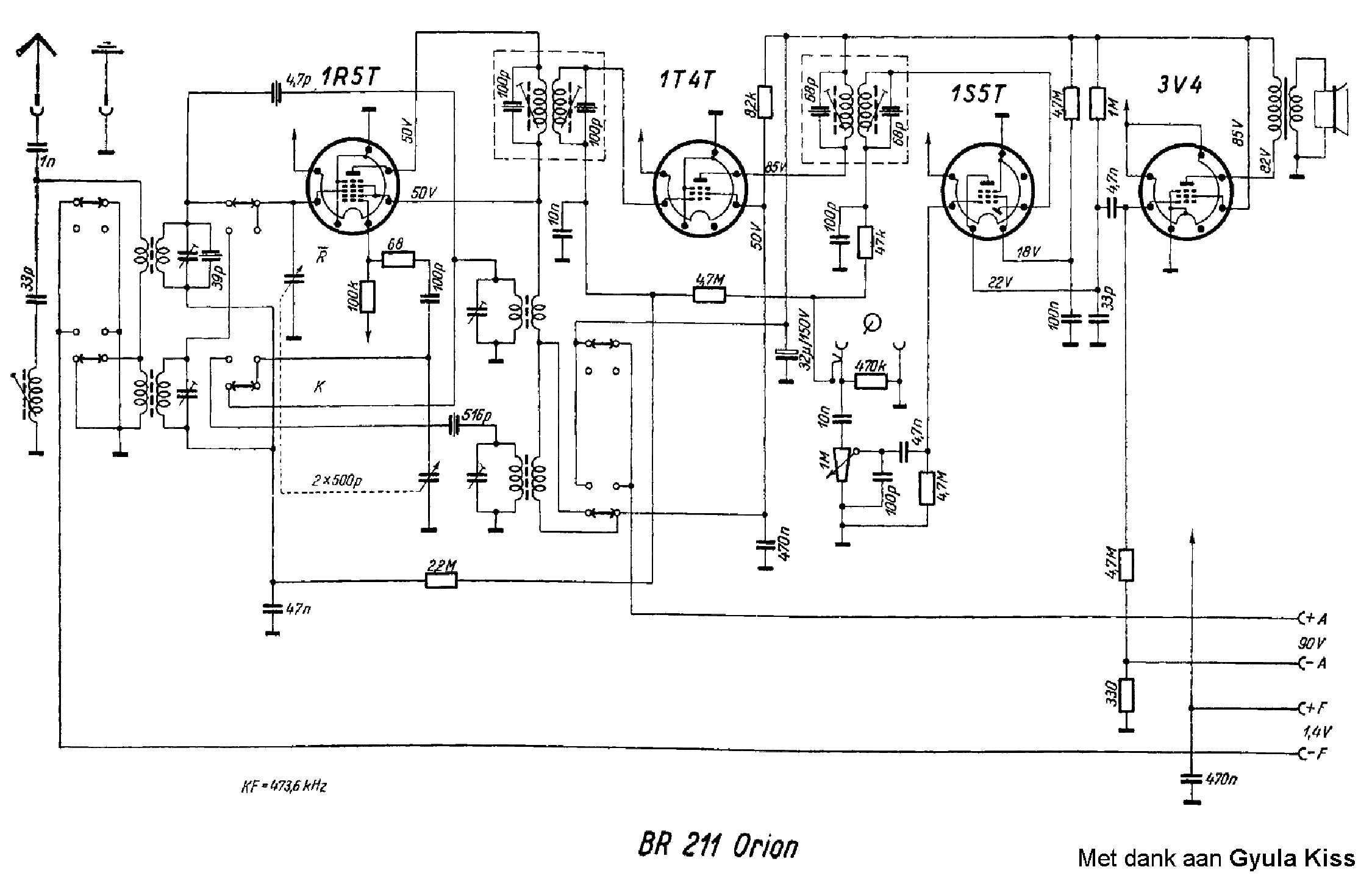
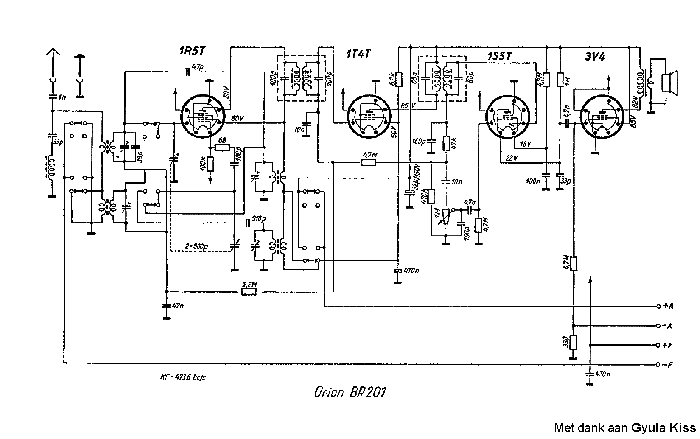
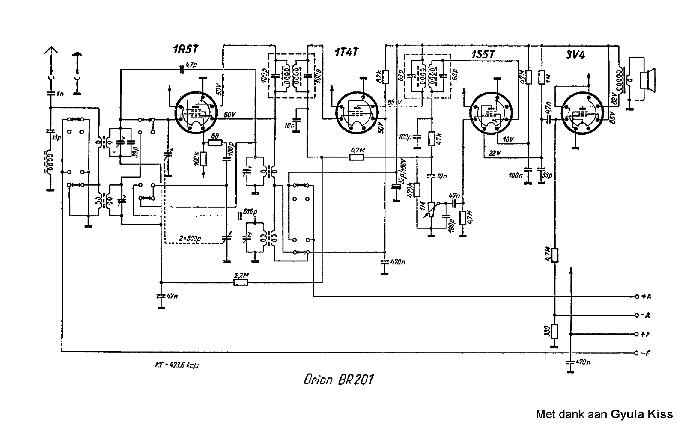
ORION-881-882 CSOVES RADIO.

AUDIO - SERVICE MANUAL
Type: (DJVU)
Size
42.4 KB
Page
1
Category
AUDIO
SERVICE MANUAL
If you get stuck in repairing a defective appliance download this repair information for help. See below.
Good luck to the repair!

Please do not offer the downloaded file for sell only use it for personal usage!

Looking for similar orion manual?
Document preview [1st page]
No preview item


No preview item for this file.

Possible causes:
  • No preview picture generated yet.
  • It is not a pdf file.
Advertisements
Download free of charge (10 files / day):
Download is being processed. Please wait...
Download processing...
  • Also known:
    RADIO. CSOVES ORION 881882 881 882
  • If you have any question about repairing write your question to the Message board. For this no need registration.
  • If the site has helped you and you also want to help others, please Upload a manual, circuit diagram or eeprom that is not yet available on the site.
    Have a nice Day!
  • See related repair forum topics below. May be help you to repair.
Warning!
If you are not familiar with electronics, do not attempt to repair!
You could suffer a fatal electrical shock! Instead, contact your nearest service center!

Note! To open downloaded files you need acrobat reader or similar pdf reader program. In addition, some files are archived,
so you need WinZip or WinRar to open that files. Also some files are djvu so you need djvu viewer to open them.
These free programs can be found on this page: needed progs
If you use opera you have to disable opera turbo function to download file!
If you cannot download this file, try it with CHROME or FIREFOX browser.
Translate this page:
Relevant AUDIO forum topics:
Orion SE 260 jobb oldal melegszik
Sziasztok! Hozzám került a cimben szereplö szörnyeteg! Nem gyári állapotu, mert a toroid helyett hiperszil van benne amelynek emelt a tápfesze 42 volt. Müsorforrás nélkül kb 5 perc mulva langyos a jobb oldali végfok hütöbordája. Viszont müsorforrással szépen torzitásmentesen szol. Esetleg a nyugalmi árama lehet rossz? Emelt tápfesz nem okoz gondot? Letekert hangerönél semmi rendellenes zaj,illetve müsorforrás nélkül teljes hangerön sincs zaj. Valaki elkezdte modifikálni, de teljesen pozitiv irányba. üdv:atis
Orion HS-282 szétszerelése MEGOLDVA!
Kedves Kollégák!

Segítsetel már, legyetek kedvesek!
Hogyan lehet kiszerelni egy HS-282-ből a magasat és közepet sérülés nélkül??? 
Olyan, mintha hátulról be lennének ragasztva...

Előre is köszönöm az építő jellegő hozzászólásokat, biztatásokat (ne add fel!!!, hajrá!!!, nosza!!!, stb.), mert egészen elkedvtelenedtem a látványtól...

stonhy
ORION HT-550 csak a mély szól!
Sziasztok! Most került hozzám ez a 5.1-es erősítő, azzal a gonddal hogy csak a mély szól benne, a többi nem. Szét szedve megnéztem, brumra megy minden végfok, táp feszek jók. Merre keresgéljek benne?
ORION HS 500 hangfal hangszóróinak bekötése
Üdvözlöm a kollégákat! Megajándékoztak egy ORION HS 500-as hangfalpárral. Valaki az idők folyamán átalakította, így elég öszvérré vált. Videoton közép és magas hangszórók kerültek bele, Videoton hangváltókkal. Szereztem hozzá eredeti hangszórókat, amiket felújíttattam, vettem hozzá Orion hangváltókat is. Kerestem hozzá kapcsolási rajzot, találtam is hozzá három különbözőt, de nem tudom melyik lehet az "igazi"? Az lenne a kérdésem, hogy esetleg valamikor ez a hangfal többféle kivitelben készült-e? És ha igen, akkor mi volt közöttük a különbség? Talán a hangszóró? Mert az nincs rajta a rajzokon. LB 4-ohmos mélyek, a magas, és közép is 4 ohmos. A hangváltó a relés típusú, aminek túlvezérlés elleni védelem a feladata. Valakinek egy igazi rajza lenne-e hozzá? Előre is köszönöm a segítséget!
Similar manuals:
If you want to join us and get repairing help please sign in or sign up by completing a simple electrical test
or write your question to the Message board without registration.
You can write in English language into the forum (not only in Hungarian)!

E-Waste Reduce