Service manuals, schematics, eproms for electrical technicians

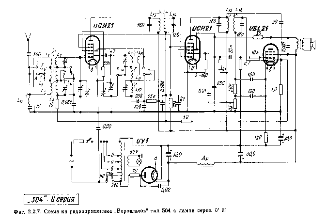
OROSZ VEF BALTIKA M-254 SM.

AUDIO - SERVICE MANUAL
Type: (DJVU)
Size
1.7 MB
Page
2
Category
AUDIO
SERVICE MANUAL
If you get stuck in repairing a defective appliance download this repair information for help. See below.
Good luck to the repair!

Please do not offer the downloaded file for sell only use it for personal usage!

Looking for similar orosz manual?
Document preview [1st page]
No preview item


No preview item for this file.

Possible causes:
  • No preview picture generated yet.
  • It is not a pdf file.
Advertisements
Download free of charge (10 files / day):
Download is being processed. Please wait...
Download processing...
  • Also known:
    OROSZ VEF BALTIKA M-254 M254 SM. 254
  • If you have any question about repairing write your question to the Message board. For this no need registration.
  • If the site has helped you and you also want to help others, please Upload a manual, circuit diagram or eeprom that is not yet available on the site.
    Have a nice Day!
  • See related repair forum topics below. May be help you to repair.
Warning!
If you are not familiar with electronics, do not attempt to repair!
You could suffer a fatal electrical shock! Instead, contact your nearest service center!

Note! To open downloaded files you need acrobat reader or similar pdf reader program. In addition, some files are archived,
so you need WinZip or WinRar to open that files. Also some files are djvu so you need djvu viewer to open them.
These free programs can be found on this page: needed progs
If you use opera you have to disable opera turbo function to download file!
If you cannot download this file, try it with CHROME or FIREFOX browser.
Translate this page:
Relevant AUDIO forum topics:
Akkord 201 orosz lemezjátszó végfok tranzisztor hibás, és nem beazonosítható (lecsiszolt típus azonosító)
Szevasztok, a fent említett lemezjátszó egyik csatornája nem működik, a végfok tranzisztorokon semmiféle azonosító nincs.
Ha tudtok segíteni megköszönöm,,,Laci
Orosz keverő_Mema_MC120_táp
Sziasztok, egy orosz keverő tápjában van két stab. TO220 tokban, ezek adait szeretném megtudni. KPEH 8 B, a másik 2E15 b. Az elsőről találtam adatot KP142EH 8 B, alatt amit +12V-osnak ir. Köszönettel. : Imre
Lorta 75U-202S orosz erôsitô búg
Sziasztok Lorta (Amfiton klon) órosz erositoben egyik oldalaban kimentek a veg es a meghajto tranzisztorok, kicsereltem oket, de most teljes hangerovel búg, a zene pedig alig fellelheto benne.De ez mindkét oldalon! Tápja jó: +/-33V. Probara tapelko csere, gretz csere tovabbra is búg. A javitott oldalon minden kiselkót cseréltem.Tranzisztorok nem melegszenek. A bemeneti koax kabel halojan keresztul kapja a 0-at! (kábelspórolás?), ha ezt kicinezem a vedelem nem kapcsolja relen keresztul a hangszorokat. Ha csak a koax belsojet cinezem ki akkor is bug. Ha pincettaval hozzaerek az egyik TO-92-es tranzisztor kolektorahoz, egeszen elhalkul a bugas, de viszont errol a labrol csak 1 db ellenallas megy tovabb, de az ellenallas masik labanal mar nem halkul el a bugas. Más: Eloerosito potira (tobbfokozatú ellenallaskapcsoló) nem reagal a hangerô, de szerintem ez mar masik problema. Na akkor most akkor mi baja lehet?
Similar manuals:
If you want to join us and get repairing help please sign in or sign up by completing a simple electrical test
or write your question to the Message board without registration.
You can write in English language into the forum (not only in Hungarian)!

E-Waste Reduce