Service manuals, schematics, eproms for electrical technicians

VIKING RM-275 RADIO SCH

AUDIO - SERVICE MANUAL
Type: (PDF)
Size
790.5 KB
Page
2
Category
AUDIO
SERVICE MANUAL
If you get stuck in repairing a defective appliance download this repair information for help. See below.
Good luck to the repair!

Please do not offer the downloaded file for sell only use it for personal usage!

Looking for similar viking manual?
Advertisements
Document preview [1st page]
VIKING RM-275 RADIO SCH service manual (1st page)
Preview of VIKING RM-275 RADIO SCH [1st page]
Click on the link for free download!
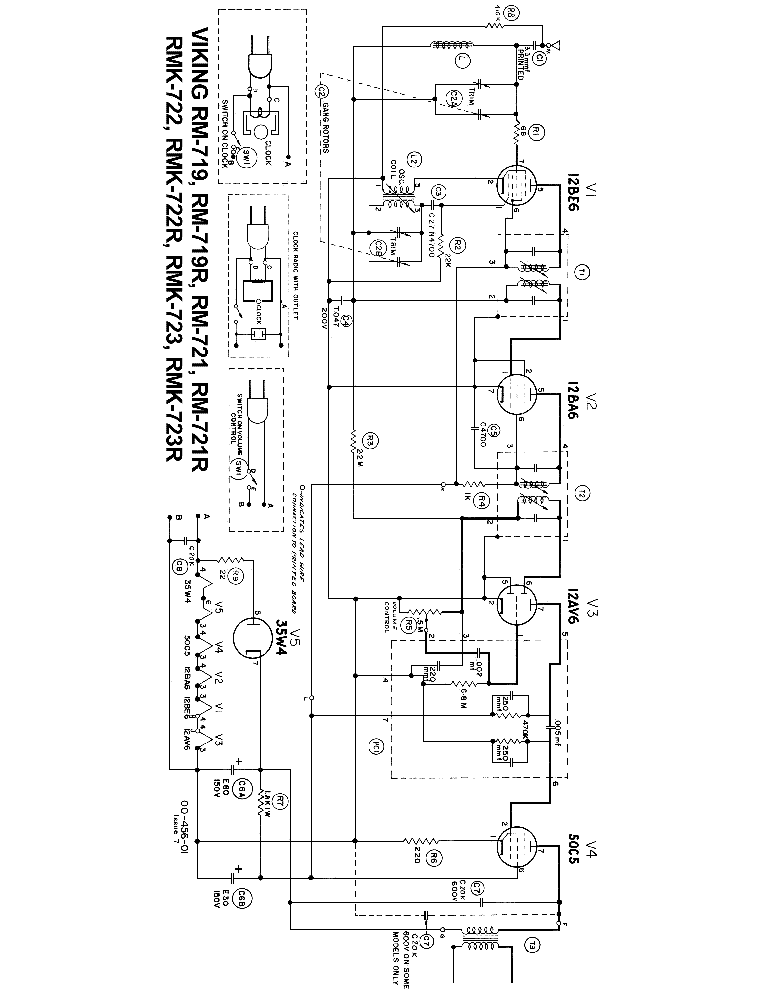
Document preview [2nd page]
VIKING RM-275 RADIO SCH service manual (2nd page)
Preview of VIKING RM-275 RADIO SCH [2nd page]
Click on the link for free download!
Advertisements
Please tick the box below to get download link:
  • Also known:
    VIKING RM-275 RM275 RADIO RM 275
  • If you have any question about repairing write your question to the Message board. For this no need registration.
  • If the site has helped you and you also want to help others, please Upload a manual, circuit diagram or eeprom that is not yet available on the site.
    Have a nice Day!
  • See related repair forum topics below. May be help you to repair.
Warning!
If you are not familiar with electronics, do not attempt to repair!
You could suffer a fatal electrical shock! Instead, contact your nearest service center!

Note! To open downloaded files you need acrobat reader or similar pdf reader program. In addition, some files are archived,
so you need WinZip or WinRar to open that files. Also some files are djvu so you need djvu viewer to open them.
These free programs can be found on this page: needed progs
If you use opera you have to disable opera turbo function to download file!
If you cannot download this file, try it with CHROME or FIREFOX browser.
Translate this page:
Relevant AUDIO forum topics:
Onkyo txsv373 hoz keresek szerviz manualt..
onkyo txsv373 hoz keresek leirásokat szerviz infót kapcsolási rajzot,,köszönet érte.üdv
Philips 70FA564 tip erositoben meghajto ic csere.
Sziasztok. Van nekem ez a Philips erositom, ami sajnos sokkal rosszabb allapotban kerult hozzam, mint amire szamitottam. Mar egy marek alkatreszt kitermeltem belole, es meg lehet, hogy nincs vege. A D801-es diodahidban 2 dioda megszakadt ugy, hogy csak egyutas egyeniranyitas maradt. A vezerlo ic-k (upc1270H) taplabain levo 10 ohmos ellenallasok szakadtak - 4drb. A egyik vezerlo ic kimenete es a vegtranzisztor bazisa kozott levo 10 ohmos ellenallas szakadt. Egy masikat potoltak 5w-os peldannyal. Az egyik csatorna eredeti emiter-ellenallasai (2x0.1R) is 2 drb 5w-os peldannyal voltak potolva. Mind a 4 vegtranzisztor ki lett cserelve, az egyik csatornaban 2SA/2SC paros van, a masik csatornaban BD249C/BD250C, ezek meresre jok. Szakadt meg a +36V-os stabilizator kimeneten a soros 10ohmos ellenallas. 2 kerdesem van: 1. a fentiek fenyeben van-e eselyem arra, hogy a vezerlo ic-k megusztak a nagy kalandot, vagy belepusztultak? Ez nagyon nem mindegy, 2 ilyen ic tobbe kerul, mint amenyit az erositoert fizettem. 2. emiter ellenallasnak 2x0.1R szamomra nem beszerezheto realis aron, 2 darabbol osszetakolva nem nez ki tul jol es a masik csatornat is modositanom kellene. A 2x0.22R mar baratibb ertek, de a vedelem mar kevesebb mint fele teljesitmenynel lekapcsolna. abban kernek segitseget, hogy a vedelem melyik ellenallasait kellene modositani a 2x0.22R hasznalata esten, (pl R723 es 724) es milyen ertekre? Elore is koszonom. Udv.
Harman-Kardon Soundsticks Wireless V1.1 - nincs hang
Üdv. Mindenkinek!
A fent nevezett készülékbe sajnos a nyílásain keresztül bekerült a gyerekek által egy fém haj csatt. A probléma az lett, hogy bekapcsolás után 1mp-ig van "némi" hang, aztán teljes csend.
Ha ki- be kapcsolgatjuk mindig megszólal egy pillanatra. Sajnos fizikálisan semmi  nem látszik, ami ki mérhető az talán rendben van. Túl sok a csipek száma, hogy fejből menjen. A csatlakozókról a jel megérkezik az ET9235 típusú elektronikus hangerőszabályzóra, de onnan tovább nincs jel. Vagy teljes "MUTE"  állapot keletkezett, vagy valamelyik IC tönkre ment. Oszcilloszkóppal próbáltam követni a színusz útját, de ET-nél megáll minden. Processzor, vagy programozott alkatrész nincs benne, de nem ismertem fel, hogy ET hogyan vezérlődik... CMOS TTL is van egy garmadával. A hangerő szabályzására egy monó poti szolgál, gondolom egyenfeszültséggel szabályozna, de nincs egyik lábán sem mérhető feszültség..
Keresek némi infót, doksit.
Köszönöm!
Beszerzési forrást keresek TB-2926CHQ Végfokra.
Üdvözletem! Tisztelt Mesterek! Kapható hazánkban TB-2926CHQ végfok IC? Kenwood DDX-4021BT dupla DIN Autórádióban található. Illetve mi pénzér adják? HQ ismeri , de nem beszerezhető. VL5680P Táp IC kapható , de külön nem szeretném megrendelni. Köszönettel: Öreg T.
Similar manuals:
If you want to join us and get repairing help please sign in or sign up by completing a simple electrical test
or write your question to the Message board without registration.
You can write in English language into the forum (not only in Hungarian)!

E-Waste Reduce