You are here

BEAG HEC11(MR) "pattog"

30 posts / 0 new
Last post
Markhazy
Markhazy picture

Sziasztok,

 

A készülékben van tápegység, két végfok és egy előerősítő kártya. A hibajelenség : éppen hogy hallható pattogás a hangszóróból majd idővel (ahogy melegszik) kissé hangosabbá válik. Utóbbi relatív megfigyelés azaz én és egy kolléga is úgy halljuk minta melegedés után kicsit hangosabban pattogna... Az előerősítő kártya kivétele után megszűnik. Illetve nagyon halványan hallható csak nagyon közelről a hangszóróból hallgatva.

Sok dolgot kipróbáltam már de nem volt még közte a nyerő...

A tápfeszültséget vizsgálva a pufferen a következő jelalak figyelhető meg.

http://www.kepfeltoltes.eu/view.php?filename=484bugo.jpg

Látható hogy a felfutó él után egy meredek „tüske” van a búgófeszültségre szuperponálódva. A kimeneteken és a bemeneteken is jelen van egy (ez) a tüske persze kis amplitúdóval. Ami fázisban van a búgófeszültségen lévő zavarjellel. A pattogásokat biztosan a búgófeszültségre keveredett impulzus okozza. Mégpedig úgy hogy az előerősítő kártya egyszerűen „beleerősíti” a jelbe mivel annak a Zener diódával stabilizált +/- 15 V os tápfeszültségén is ott ez a zavarjel. Az előerősítő kártya kivételével megszűnik a pattogás.

A készülékben van egy relé ami a főkapcsoló lekapcsolása után leválasztja a hangszórókat az erősítőről kb. 2 másodperces késleltetéssel. Ezalatt az idő alatt hallatszik, hogy a transzformátor lekapcsolása után megszűnik a pattogás. A pufferekben még bírják utána is nem sülnek ki azonnal.

Mivel régi készülékről van szó amit 220 V os hálózatra méreteztek ezért kipróbáltam szabályozható toroiddal 220V ról megtáplálni hátha esetleg a trafót zavarja a magasabb hálózati feszültség de nem nyert. A trafó meg van benne gerjesztve tisztességesen az látszik a szekunder oldali feszültségből. De holnap megnézem még egyszer a biztonság kedvéért...

Azt szeretném kérdezni hogy találkozott-e már valaki hasonló problémával?

 

Köszönöm a válaszokat, tippeket.

Üdv

M

 

Comments
Markhazy
Markhazy picture

Leszedtem a pufferről minden belső terhelést (Végfokokat, előerősítőt) és egy ellenállással leterheltem az elkókat. (Úgy hogy akkora áram folyjon mint amekkorát a belső egységek is felvesznek nyugalomban) Így csak a trafó, a Graetz és a puffer elkók vannak üzemben illetve a tápegység le van terhelve szimulálva a belső egységek nyugalmi áram felvételét. (100..110 mA) A kis tüske még így is jelen van.

0

Jaca
Jaca picture
*****

Szia!

Most kezdjél gyanakodni a külső zajra. Hasonlóan szivatott a nagyítós lámpám egy gitárerősítőnél. Ha lekapcsoltam, elmúlt róla a zaj. Kísérlet 2: másik trafó, graetz, kondi, terhelés, ugyanúgy ott lesz.

Janó, a másik trafós teszt megvolt már. 

0

Markhazy
Markhazy picture

Megnéztem másik pufferrel. Ugyan olyan MM mint ami benne van csak 10.000 uF helyett ez 4700 uF-s. (ilyenem volt) A tüske lényegesen kisebb, már már nem is észrevehető. Viszont ezzel 4700 uF-os kondenzátorral kb akkora a búgófeszültség mint a 10.000 uF-al. tehát utóbbi biztosan rosszabb mint a 4700-as. Lehet esetleg hogy a kondenzátor induktivitása okozná ezt a jelenséget? A tüskére gondolok.

1

Jaca
Jaca picture
*****

Szia!
Ha a kisebb kondival ekkora a javulás, akkor az lesz az ok.
 

1

Markhazy
Markhazy picture

Köszönöm a segítséged és a többiekét is!

0

zgyula
zgyula picture

Hello!
Gyere át, adok 2db 10000uF /40V kondit, próbáld bele, hallgasd meg mit produkál.

0

Jaca
Jaca picture
*****

Szia!

Célszerű a 10 000uF-ot több darabból összerakni, pl 5db2200uF-ból.

0

SzBálint
SzBálint picture
****

szia: mivel 5  db 2200 uF  elkonak kisebb a belső ellenállása mint 1 db 10000 uF nek,

Még 2 db 4700  uF is jobb, mint 1 db 10000 uF

105 fokosat tegyél bele

Bálint

0

Jaca
Jaca picture
*****

Szia Bálint!

Inkább a párhuzamosan kötött induktivitásokra gondoltam. A 85 fokos is elég, mert ezekben még van szellőzés, és nem is kapcsolóüzeműek.

0

Markhazy
Markhazy picture

Bálint, Jaca

Pont ez fordult meg az én fejemben is. Jobb lenne több darabból összerakni pont azért amit írtatok. Remélem hogy így már jó lesz! Ezt most még nem tudom kivitelezni mivel valami megoldást kell találni hogy a csavaros elkó helyére valami panellel felrögzítsem ezeket a több darabos kondikat és kondikat is kell szereznem még.

0

DINO54
DINO54 picture

Szia!
Na most az a helyzet hogy amikor ezt a monitort legyártották, átment a bemérősoron, a MEO-n, ez megfelelt a minden időkben szigorú studió technikában elvárt, megszokott magas minőségi elvárásoknak, és nem utolsó sorban szubjektív vizsgálatoknak! Használták. Vélhetően nem egy kocsma sarkában. Studióban!
NE akarja ezt senki átalakítani! A hiba okát kell megkeresni! A csatolt jelalak abnormális, ilyen egy normálisan működő kettős tápegységben nem fordulhat elő! Elnézést a sok felkiáltó jelért.
Laci 

2

SzBálint
SzBálint picture
****

szia: azóta  jó sok  elektron átfolyt  a tápelkókon.
A szivárgási áram bizonyára megnőtt

Bálint

0

Jaca
Jaca picture
*****

Szia Laci!

Elnézést, hogy hozzád szólok, szigorúan szakmázni fogok:
A jelenlegi helyzet azt mutatja, hogy a kondenzátor hibájából állt elő a furcsa jelalak. Vélhetően a megfelelő minőségű új kondenzátorok  beépítése megoldaná a problémát átalakítás nélkül. A javasolt átalakítás, hogy több kondenzátorból épüljön fel a puffer azért javasolt, mert minőségben jelentős különbség van az akkor gyártott és a ma (elfogadható áron) kapható kondenzátorok közt.

 

1

DINO54
DINO54 picture

Szia!
Ebben a szerkezetben a hagyományos, kék színű csavaros rögzítésű MM elkók laknak. Semmi extra, Bármikor beraknék helyettük hasonló korú, ugyan olyan kondenzátort. Ezeknél a végfokoknál saccra 1-2V peak to peak búgófeszültség látható szkópon hibátlan állapotban. Meghajtás nélkül vagy kis hangerőn, ahol a jelenség jól megfigyelhető, alig van áramfelvétel, talán ha 100-200mA lehet, akár kétszer 1000uF is elég kell legyen a csendes üzemhez.
Ami kérdéses számomra, milyen szkóppal és kábellel készültek a csatolt képek a jelalakokról? Valami nem kerek. Ilyen jelet még puffer elkón nem láttam!
Egyáltalán mi ez a "szögletes" jelalak? 
Laci

1

Jaca
Jaca picture
*****

Szia Laci!

Nekem is újdonság, de az alábbi két hozzászólásból egyértelműen a kondenzátor okozza:
https://elektrotanya.com/comment/386957#comment-386957
https://elektrotanya.com/comment/386965#comment-386965
Ami érdekes volt, hogy a párhuzamosan rátett kondenzátor sem csökkentette le. Amit el tudok képzelni, hogy a kondenzátor induktivitás okozza a problémát, 10000uF-hoz 1uH is elég 50Hz-en, 100Hz-hez meg ennek a negyede, hogy rezonáljon.
Jácint

0

Markhazy
Markhazy picture

Másik trafóval és másik Graetzel is próbáltam már, Most fogok neki másik kondival kipróbálni.

0

varga jano
varga jano picture
*****

Elnézést!

0

varga jano
varga jano picture
*****

Bocsánat,hogy a csapos közbeszól!
Sziasztok!
Egy másik trafó?
jano

0

Markhazy
Markhazy picture

Sziasztok,

A szkóp a puffer elkó közös pontján volt testelve, illetve számos más helyen a sasszin. De mindig ezt a jelalakot látom. Másik, új diódahíddal vizsgálva is ugyanez a jelenség.

Mértem a szekunder oldali AC feszültséget ami lejön a trafóról. A jelalak a szokásos, annyi különbséggel hogy a vas túl van vezérelve és a feszültség kissé torz és kb 95% nál van a vágás.

http://www.kepfeltoltes.eu/view.php?filename=870AC.jpg

Esetleg ez okozhat-e ilyen zavarokat? Esetleg úgy jönne vissza a vas telítésből hogy egy ilyen nyomot hagy maga után?

0

DINO54
DINO54 picture

Szia!
Végre nem "tanyanetről" vagyok (Tanya egy oldal betöltés 5perc) sad
Bár írtad hogy próbáltad másik trafóval is, de az nem derült ki hogy az milyen vassal és milyen primer feszültségre készült tekercseléssel rendelkezett.
A telítésbe vezérlés lehetséges oka meglátásom szerint az hogy ez a készülék még 220V-ra készült trafót tartalmaz. Próbára betehetsz a primerrel sorba egy cca. 10ohm (kb. akkorát hogy a primer tekercsen csak 220V legyen)12-20W ellenállást hogy ez által csökkentve a gerjesztést megfigyelhesd, fennáll e még a pattogó hang.

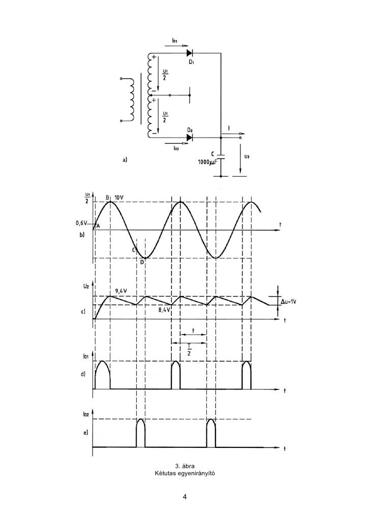
  Az ábrán látható jelalakok volnának a normál esetben mérhetők és elvárhatóak. Könyvből származó ábra. A graetz diódáival ha eredetileg nem volna, tegyél be párhuzamosan 47-100nF kerámia kondenzátorokat.
Üdv. Laci
.
P.s. Privát ment.

0

Jaca
Jaca picture
*****

Szia!

Ha akad otthon egy másik trafód, ami tudja ezeket a feszültségeket, érdemes lenne megnézni vele. Elég akkora teljesítmény, hogy be tudjon kapcsolni. A fenti jelalakból nem következnének azok a tüskék. 
A tüske talán arra utalhat, hogy hirtelen megszűnik a terhelés, és felugrik a feszültség. Bár fura, hogy pont 100Hz-en.

0

Markhazy
Markhazy picture

Megnéztem egy külső trafóval. A tüske benne van úgy is viszont a végfokozatok kimenetein már nincs. Próbáltam már azt is hogy a pufferrel párhuzamosan kötöttem 1-1 uF-os kondenzátort de akkor sem szűnt meg a tüske.
Terheletlenül szép sima DC van a pufferen és akkor nincs benne a tüske.
Annyit megpróbálok még hogy lekötök mindent a tápjáról és csak a puffereket megterhelem egy ellenállással hogy akkor mi történik.

0

SzBálint
SzBálint picture
****

szia: a Graetz diódáival párhuzamosan már vannak kondenzátorok?
(Jaca is kérdezte)
Tegyél rá 100nF kerámia kondenzátorokat

Bálint

0

Markhazy
Markhazy picture

Szia

Sajnos nem jó úgy sem :(
Amit még kipróbáltam az hogy a pufferekkel (10.000 uF) párhuzamosan kötöttem még 4700 uF-ot, úgy csökkent a tüske amplitúdója (40 mV ról 30 mV ra) is a búgófeszültséggel együtt...

0

SzBálint
SzBálint picture
****

szia: nem lehet külső zavar?
Lakásvilágítást lekapcsolva is csinálja?

Bálint

0

Kumi
Kumi picture

Szia!
Én megpróbálnám a teljes erősítőt külső labortápegységről, stabilizált feszültségről járatni.
Ha ilyenkor nincs pattogás, akkor nagy valószínűséggel tápoldalról jön a zavarjel.
A jelalak érdekes, a szkóp a puffer elkónál volt testelve?
Üdv.: Kumi
 

0

Jaca
Jaca picture
*****

Szia!

Az egyenirányító diódákkal párhuzamosan vannak kapcsolva kondenzátorok?

Azok tudnak fura dolgokat művelni. Esetleg egy másik egyenirányítót érdemes lenne belepróbálni.
Üdv: Jácint

0

Markhazy
Markhazy picture

Szia,

Nincsenek párhuzamosan kondik.

0

jakyg
jakyg picture

Szia!

Én első körben a Graetz hidakat cserélném, úgy néz ki mintha vagy szivárogna a dióda (diódák?) vagy megnőtt volna a zárókapacitása.

0

Sponsored links