You are here

Nosztalgia... Videoton TV PONG kompozit kimenet életre lehelése

24 posts / 0 new
Last post
mindigehes
mindigehes picture
**

Sziasztok!

Gyerek szívta a vérem, milyen játékok voltak régen.. Nos, előtúrtam egy Videoton PONG klónt, ilyet:

https://www.hobbielektronika.hu/forum/getfile.php?id=282699

Aztán persze ez RF-esen már egy mostani TV-re kb behangolhatatlan, maximum kézzel, de ehhez meg sem idegem, sem energiám, hogy a falról TV le, bedug, vissza, stb.. Szóval mondom, teszek rá kompozit video kimenetet.. Modulátorról le a jel, bele egy PN2222, bázisra a bemenet, + táp, - táp fele egy-egy 2.2K, 3.3K, meg 75 ohm az emitter felől a GND fele, és a kimenet.. Ami nagyon jól működött más korabeli RF modulátoros cuccokkal..

na ezzel nem. Fut a kép. Néha elkapja a TV, de inkább nem, mint igen...

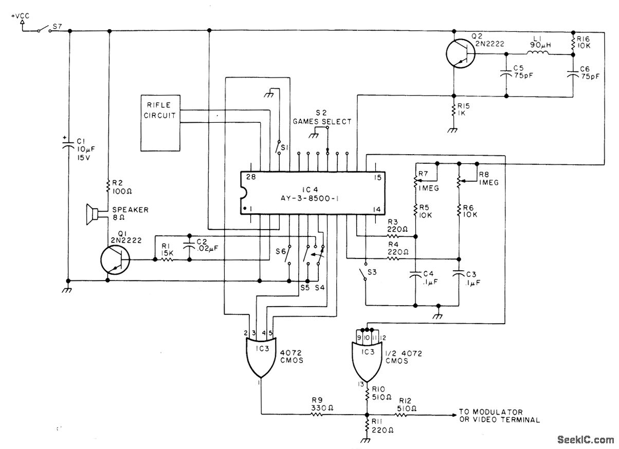
Emlékszik még valaki erre az AY-3-8500 csodára? Mi itt a trükk?

rajza itt:

https://www.hobbielektronika.hu/forum/getfile.php?id=284000

Azért nem a zöldben kérdezem, mert ahogy visszaolvastam, ebbe már más bicskája beletört :) És elengedte.. :)

Hátha van itt olyan régi bútordarab, aki játszott ezzel már..

Első körben arra tippelnék, hogy az az csodás hangolható LC kör nem akar ott rezegni, ahol kellene, de az egész olyan rideg, és elöregedett, hogy a vasmagot nem merem tekergetni, meg nem is lehet a pecsétviasz miatt (nem, nem sima méhviasz), mert össze is töröm :) És ilyen vasat már nem lelek sehol, a videoton lomokat rég eltüntettem..

Inkább kérdezek, hátha van tapasztalat...

Nagy energiát nem ér, de viccesen néz ki a PS4 meg z XBOX one x mellett :D

KöszI!
 

Comments
zus
zus picture

Szia ! Én építettem egy sajátot valami hasonló videoerősítővel, mint aminek a rajzát valaki korábban feltette ide. A saját zöld pongomat meg átalakítottam, rátettem egy RCA aljzatot kimenetnek és abba is beleépítettem a videoerősítőt. Mindkét megoldás tökéletesen működik LED tévén, a videóbemenetre kötve. Semmi VHF modulátor, csak alapsávi videojel. Sőt, ezzel a megoldással a másik AY-3-8500 pong IC is tökéletesen működik (kettő volt belőlük, egyik az 525 sorra,a másik meg a 625 sorra).

0

RTZ
RTZ picture

0

SzBálint
SzBálint picture
****

üdv: az eltérés oka OIRT-CCIR frekvenciák

https://www.frekvencia.hu/vhfchannels.htm

Bálint

0

zsugori
zsugori picture
****

0

mindigehes
mindigehes picture
**

Szia!

Igen, ezt én is néztem, csak elvetettem, mert nem akarom az egész videoton találmányt szétbarmolni.. így csak 1db 3mm lyuk kellett a vékony árnyékolt kábelhez, és minden maradna az eredeti... Ehhez nagyon szét kellene túrni...

0

zsugori
zsugori picture
****

0

mindigehes
mindigehes picture
**

Jójó... De ha van itthon egy videoton.. még gyerek koromban én felejtettem benne a perion elemeket :D

1

Jaca
Jaca picture
*****

Szia!

 

Nemrég kellett csinálnom egy videojel meghajtót. BC847, emitterre föld felé 75 Ohm, kollektora tápon. Bázisosztó ellenállások összege 100k körül, emitteren 1,5V legyen, ez kb 27k bázis föld közé, és 47k táp és bázis közé. A csatolókondenzátorok bemeneten legalább 22uF, kimeneten 470uF. 
Junosztnál szivatott ilyen bizonytalan szinkronizálás, mert túl kicsire választottam a csatoló kondit.

0

mindigehes
mindigehes picture
**

Szia!

Kimenetre 47uF-et tettem, de majd akkor megnövelem..

Az a fura, ha az LC kört tapizom, akkor néha elkapja, és jó :) következő resetig :)

szerk: A bemeneten a benne levő 10uF van, ami mérve jó, de majd akkor azt is kicserélem.

0

SzBálint
SzBálint picture
****

szia: ehhez

Bálint

0

formasu
formasu picture
*

Szia!

Nagyobb energiát is megérne, szerintem, egyre ritkábban lehet már ilyet fellelni. (Én keresek ilyet, vagy ami belülről ugyanez, a Videoton gyártmányt) Én a készülékhez nem nyúlnék. Eredetileg a VHS1 vagy 2 csatornára van behangolva, meg lehet keresni bármelyik TV-n. (Jár hozzá antenna kábel is!) A hangot nem viszi át a TV-re, csak a képet, ezt biztosan észrevetted. A hangot a "dobozon" lehet ki-be kapcsolni. A tápot én kívülről szoktam adni, akár az elemtartóra forrasztva egy 9-10 Voltos kis táppal. 

Ha mindenképpen másik csatornán szeretnéd a TV-n nézni a képet, akkor én (esetleg) rátennék egy régi videóból kiemelt modulátort, és arra kötném a videó jelet, de ennek nincs sok értelme, mert ezek stabilan működnek antenna bemenetről! (Plusz akkor még annak is kell, általában 5V-os tápot adni...)

Ha van kérdésed, segítek! 

Szép napot: formasu

0

NK
NK picture

Helló!

Végigolvastam ezt a beszélgetést. Én is kaptam egy Videoton pongot javításra. A javítás sikerült is, kis képcsöves tévével minden rendben. Nagy LCD TV-vel már kevésbé: bejön a kép, nem is szemcsés, de hullámzik. Kipróbáltam egy régi DVD felvevőn át is, mert abban is van demodulátor, de hasonló a helyzet. Gondoltam fúrok rá egy lukat és készítek egy kompozit kimenetet, de ha jól értem, nem feltétlen muszáj. Akkor mi lehet a gond és mi lehet a megoldás?

Köszi:
NK

0

NK
NK picture

Leírom a fejleményeket az utókornak, meg hogy legyen miből tanítani a chtgpt-t :D

Itt sajnos túl sok használható választ nem kaptam, de ez végül is segített: https://elektrotanya.com/comment/305251#comment-305251

Ja igen, ha valaki kérdezi, mindkét kondit (elkó) úgy kell betenni, hogy pozitív fele legye a saját áramköröd felé (tranzisztor bázisa, emittere).

Az elkészült áramkör kicsit sötét, de szép képet adott. Ahol az ütő a pálya szélébe ér, ott szép világos.Lehet ezért bontja meg jobban ez a megoldás a Videoton pongot: https://idoregesz.hu/product/videoton-military-pong-composite-modding-kit/

Szóval a kép szép volt, azért épp elég világos is, de ... egy sötét vízszintes sáv gördült végig folyamatosan a képen. Hosszú hibakeresés kezdődött, sokáig tartott mire rájöttem, hogy a használt táp egy ipari hulladék. Rendes táppal megszűnt a gördülő sáv effektus. No, gondoltam, próbáljuk ki LCD TV-n antennajellel a rendes táppal. Láss csodát, működik! Nem tökéletes persze, de arra az egy órára bőven jó, amíg ráun a Pongra az emberfia.

0

RTZ
RTZ picture

0

SzBálint
SzBálint picture
****

0

mindigehes
mindigehes picture
**

Szia! 

Na, ez tetszik. Ezt ki fogom próbálni, van másik pong is... ;)

0

mindigehes
mindigehes picture
**

Szia!

Mindenképp kell a kompozit. Nem megy stabilan RF-ről, és mint írtam, biztosan nem fogom leakasztgatni a TV-t, ha nyomkodni akarja a gyerek...

0

feco99
feco99 picture

Szia,
Talán ez nagyobb jelet ad és illeszkedik:
Amit már Jaca is irt ,fontos a nagy csatoló kondenzátor.
 

File csatolás: 

0

mindigehes
mindigehes picture
**

Szia!

Köszi!

Átszámolom, összerakom.. (itt csak 6V táp van..) de talán ez még menni fog :)

0

formasu
formasu picture
*

Szia.
Sok ilyen volt már nálam, és mindegyik stabilan ment a VHF alsó csatornán, csak be kell pontosan hangolni rá a Tv-t.
Csak javaslom, hogy ne fúrj rá lyukat, és ne alakítgasd át, ha lehet, legalább küllemre maradjon eredeti.

0

mindigehes
mindigehes picture
**

Szia!

Értem, de Te nem érted. A TV a falon lóg. Ahhoz, hogy bele tudjam dugni az RF kábelt, egy 55" TV-t kell leakasztani, meg felakasztani. Teccikérteni? Ha nem nyomkodja a gyerek, mert nem fogja.. Akkor megint akaszthatom le, és fel, mert a TV nézéshez kell a koax. És holnap is, meg szerdán is.. Amíg a dinnye fejemmel be nem nyomom a kijelző közepét, vagy le nem ejtem. Viszont az oldalán van kompozit bemenet..

meg egy 16 portos HDMI switch is, ha stabilan megy a kompozit kimenet, akkor rendelek egy kompozit - HDMI átalakítót, és le van tudva...

A másik gond, hogy nincs manuális finom hangolás sem..

1

formasu
formasu picture
*

Szia.
Az antennát egy 20cm-es toldó  kábellel ki is lehet hozni, hogy ne kelljen akasztgatni a Tv-t. 
Szerintem nem hangoltad be jól a csatornát, mert ezek átalakítás nélkül is jól működnek. Elég nagy a kijövő jelszint, esetleg nem az "igazi" helyen is megtalálhatja a TV! Lehet hogy mind jól működik a tiéd kivételével? Bocs .

0

mindigehes
mindigehes picture
**

Szia!

Lehet, ez a kivétel.

Most írom utoljára. Érthetően. KOMPOZIT KIMENETET AKAROK RÁ TENNI. Mert szerintem EZT AKAROM. Bocs.

Szerk:
itt egy gyári, másik dobozban:
https://www.jofogas.hu/budapest/Videoton_TV_jatek_dobozaban_133708087.htm

ha nagyon szeretnél egyet...

2

Sponsored links